山東風途物聯網科技有限公司
聯系人:杜經理
聯系電話:16652863761
QQ:2749609891
公司地址:山東省濰坊市高新區光電路155號光電產業加速器(一期)

PRODUCT
聯系人:杜經理
聯系電話:16652863761
QQ:2749609891
公司地址:山東省濰坊市高新區光電路155號光電產業加速器(一期)
產品型號:FS485
產品價格:600元
產品品牌:風途
一、機械式風速風向傳感器技術指標
機械式風速風向傳感器又稱一體式風速方向傳感器,機械式風速風向傳感器是一種集成了風速和風向測量功能的傳感器設備,采用高分子工程塑料,強度高,啟動性好。
供電:DC12V
工作環境:-40~70℃,濕度≤100%無凝露
通信接口:RS485
工作電流:55mA DC12V
啟動風速:0.5m/s
最短數據間隔:0.5S
殼體材料:高分子工程塑料
二、機械式風速風向傳感器參數
| 參數 | 測量范圍 | 分辨率 | 精度 |
| 風速 | 0-60m/s | 0.01m/s | ±0.2m/s |
| 風向 | 0-360度 | 0.1度 | ±1度 |
| 平均風速 | 0-60m/s | 0.01m/s | ±0.2m/s |
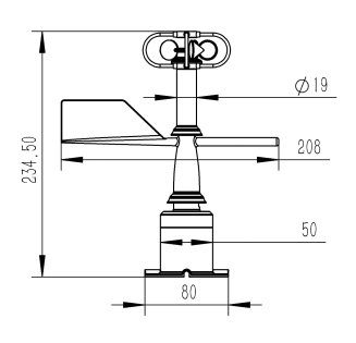
三、機械式風速風向傳感器外觀尺寸

四、機械式風速風向傳感器安裝要求

安裝時底座箭頭N的方向需指向正北方向(如上圖所示)
更新時間:2025-11-15
本文地址:http://m.rootech.com.cn/fsjl/1524.html土壤氧化還原電位儀
2020-02-06 06:26:09微型氣象儀推薦廠家
2024-11-20 16:29:07微型空氣質量監測儀介紹
2024-02-07 16:40:43現代化氣象監測系統
2022-07-06 16:46:07vocs廢氣都是從哪里產生的
2023-06-01 13:07:57自動氣象站設備
2023-05-16 14:01:08無組織VOC監測系統pid
2020-02-13 09:18:38微型氣象儀廠家推薦
2022-08-30 09:40:18建設智能生態氣象監測系統有什么用?
2022-05-27 15:22:24臭氧污染進入高發期,你了解多少?
2021-06-11 07:27:49